电力变压器 油与温度的故事
2022-08-24 IOS/安卓通用版/手机APP入口电气
空分分子筛阀门故障总结
2022-08-24 IOS/安卓通用版/手机APP入口阀门
如何延长陶瓷阀门的使用寿命?
2022-08-23 IOS/安卓通用版/手机APP入口阀门
抗氢球面紧急切断耐磨陶瓷阀
继电保护也会犯浅显错误
2022-08-23 IOS/安卓通用版/手机APP入口电气
KS-BJ系列热电偶补偿导线详解
2022-08-22 IOS/安卓通用版/手机APP入口
WAX-C320系列差压流量计波动故障处理分享
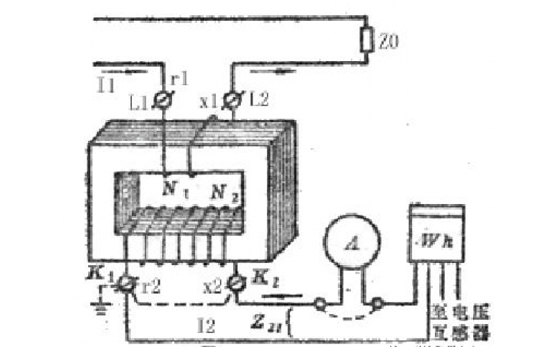
电压互感器与电流互感器的区别介绍
2022-08-22 IOS/安卓通用版/手机APP入口电气